
日前,据中国证监会官网披露,超聚变已顺利完成首次公开发行股票并上市的辅导工作,辅导机构为中信证券。
此前,在2025年12月31日,超聚变与中信证券正式签署了辅导协议,并在同一天向河南证监局提交了辅导备案相关材料。
据超聚变官网介绍,该公司是一家全球领先的算力基础设施与算力服务提供商,专注于硬件、软件及工程三大核心技术领域,业务范围覆盖服务器、操作系统、AI开发平台、超融合架构、高性能计算以及数据库解决方案等多个方面。
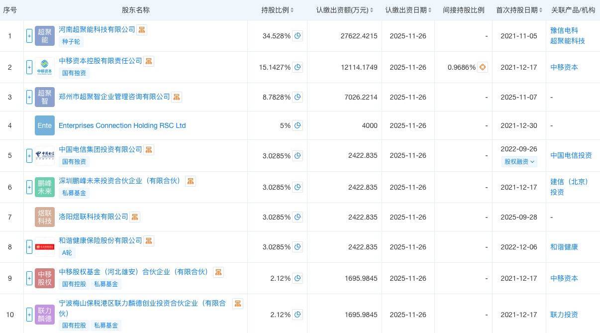
超聚变公司脱胎于华为。回顾历史,2021年,受国际外部环境影响,华为将其x86服务器业务进行剥离,以“超聚变”这一新主体独立运营。此后,该公司吸引了包括河南超聚能科技、中国电信、中国移动在内的多家股东持股。

目前,河南超聚能科技为公司控股股东,持股比例超过34%;中移资本(中国移动旗下投资平台)则位列第二大股东。
官网还显示,超聚变在全球范围内设有10个研发中心和5个供应中心,同时建立了6个全球技术服务中心和7个大区业务部,为超过100个国家和地区的1万余家客户提供服务。
据21世纪经济报道,超聚变液冷服务器连续两年(2023—2024)位居中国市场份额第一,公司营收从2022年约100亿元增长至2024年超过400亿元。
据IDC发布的报告,2025年,超聚变以12.7%的市场份额,位列国内x86服务器整机厂商第二位,仅次于市场占有率31.3%的浪潮信息。在产品与技术层面,公司已陆续推出了升级版FusionPod开放架构液冷服务器、标准化AI中台、FusioOne AI一体机、AI调优子产业解决方案,以及液冷技术白皮书等一系列新品与创新成果。
倍享策略提示:文章来自网络,不代表本站观点。